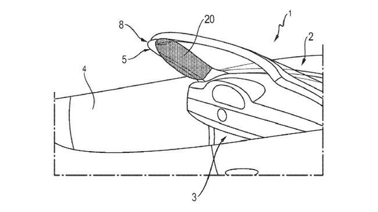
Liputan6.com, New York - Pengembangan fitur keselamatan, merupakan hal yang wajib dilakukan setiap produsen mobil di dunia. Begitu juga dengan Porsche, yang baru saja mematenkan penggunaan airbag atau kantung udara di pilar A untuk model convertible atau atap terbuka.
Dilansir Motor1, Selasa (2/5/2017), dalam sketsa yang dirilis oleh pabrikan asal Jerman ini, penggunaan airbag akan dilakukan sepanjang pilar A.
Dengan begitu, ketika terjadi kecelakaan akan melindungi pengendara dari benturan jika tubuh bergerak ke sudut kendaraan, dan ketika atap mobil mobil sedang dibuka.
Selain itu, Porsche juga yakin bahwa teknologi ini akan berguna, serta mampu memberikan perlindungan ekstra kepada penumpang saat atap mobil terbuka dan terjadi kecelakaan.
Sebagai informasi, Porsche mengajukan hak paten penggunaan airbag pada pilar A ini pada 19 Oktober 2016. Namun, kantor Hak Paten dan Merek Dagang Amerika Serikat ini baru menerbitkan dokumennya pada 27 April 2017 lalu.
Belum diketahui pasti, kapan penggunaan airbag di pilar A untuk mobil convertible Porsche bisa dilakukan. Kemungkinan besar, dalam waktu dekat sudah hadir model convertible Porsche dengan tambahan fitur keselamatan tersebut.
:strip_icc()/kly-media-production/medias/2289804/original/030262300_1532422235-20180724-Daging-Ayam-Naik-4.jpg)
:strip_icc()/kly-media-production/medias/5432608/original/039355600_1764817183-Cek_Fakta_Tidak_Benar_Ini_Link_Pendaftaran_-_2025-12-04T072013.095.jpg)
:strip_icc()/kly-media-production/medias/5449906/original/063102600_1766118428-Cek_Fakta_Tidak_Benar_Ini_Link_Pendaftaran_-_2025-12-19T112523.408.jpg)
:strip_icc()/kly-media-production/medias/5450062/original/007071500_1766126658-bibit_ayam_klaim_bantuan.jpg)
:strip_icc()/kly-media-production/medias/1582745/original/020844000_1493782441-porsche-airbag-patent.jpg)
:strip_icc()/kly-media-production/medias/5446038/original/003387300_1765871568-Lagidiskon__desktop-mobile__356x469_-_Button_Share.png)
:strip_icc()/kly-media-production/medias/1429293/original/037383000_1481114577-20161207--Laptop-Acer-Seharga-20-Juta-Jakarta-Angga-Yuniar-01.jpg)
:strip_icc()/kly-media-production/medias/5436096/original/000714800_1765162370-pexels-photo-1740919.webp)
:strip_icc()/kly-media-production/medias/4800209/original/049531900_1712900090-shutterstock_2286683503.jpg)
:strip_icc()/kly-media-production/medias/5442113/original/056839600_1765528039-Ilustrasi_smartphone__tablet__dan_laptop.png)
:strip_icc()/kly-media-production/medias/5441514/original/073297500_1765510798-Depositphotos_547538726_L.jpg)
:strip_icc()/kly-media-production/medias/5429431/original/070225500_1764586417-pexels-yankrukov-9072212.jpg)
:strip_icc()/kly-media-production/medias/5434294/original/022663100_1764921813-Depositphotos_209735730_L.jpg)
:strip_icc()/kly-media-production/medias/5424660/original/045643900_1764150556-IMG-20251126-WA0006.jpg)
:strip_icc()/kly-media-production/medias/5429377/original/065579200_1764583822-pexels-shkrabaanthony-5264912.jpg)
:strip_icc()/kly-media-production/medias/5428662/original/071057300_1764557835-Depositphotos_170438662_L.jpg)
:strip_icc()/kly-media-production/medias/5426355/original/026522800_1764302989-Depositphotos_189719384_L.jpg)
:strip_icc()/kly-media-production/medias/5415137/original/055240200_1763361833-pexels-muffinsaurs-1214212.jpg)