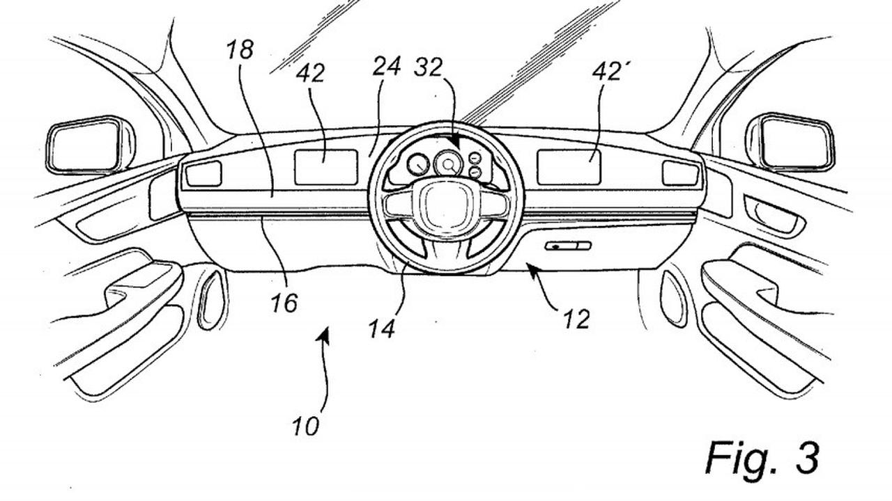
Liputan6.com, Jakarta - Volvo telah mematenkan sistem yang memungkinkan roda kemudi dan instrumen clusternya bergeser dari kiri dan kanan.
Produsen mobil asal Swedia tersebut, pertama kali mengajukan paten ke Kantor Paten dan Merek Dagang Amerika Serikat pada awal 2019, namun baru dipublikasikan pada akhir September.
Melansir Carscoops, memiliki kendaraan yang roda kemudinya dapat bergeser dari sisi satu ke satunya lagi mungkin tampak seperti dari film fiksi. Namun, dengan teknologi otonom yang semakin umum, Volvo dapat mewujudkan hal itu.
Advertisement
Paten tersebut menjelaskan bagaimana kendaraan kan menggunakan berbagai komponen kabel, termasuk setir dengan kabel, rem dengan kabel, dan throttle dengan kabel. Berarti, tidak akan ada koneksi fisik antara kontrol dan sistem yang dioperasikan.
Dengan sistem Volvo tersebut, memungkinkan pengemudi hanya mendorong setir dan instrumen cluster ke sisi penumpang kendaraan jika pemilik ingin memberikan mobil itu sendiri melakukan semua pengemudian.
Setir Tengah
Roda kemudi bahkan bisa diposisikan di tengah mobil, untuk posisi pengendaraan sentral seperti McLaren F1.
Untuk pedal, sistem Volvo dapat menggunakan bantalan peka tekanan, sensor yang digerakkan secara hidraulik atau pneumatik yang akan dipasang di bawah kedua kaki.
Sistem akan secara otomatis mengaktifkan yang terletak di sisi yang sama dengan roda kemudi.
Advertisement
Kerja Sama dengan Geely, Volvo Mulai Produksi SUV Listrik Canggih
Kendaraan listrik tengah berkembang pesat di dunia. Tidak hanya sebatas sedan, mobil ramah lingkungan juga telah didominasi oleh model sport utility vehicle (SUV), yang penjualannya juga tengah meningkat di pasar global.
Melansir Paultan, bahkan Volvo telah mulai memproduksi SUV listriknya, XC40 Recharge Pure Electric P8. Produsen asal Swedia ini mengatakan, permintaan SUV listrik kompaknya begitu kuat sehingga setiap unit yang dijadwalkan akan dibangun saat ini sudah terjual.
"Hari ini adalah momen penting bagi Volvo Cars, dan untuk semua karyawan di sini (Ghent, Belgia). Saat ini kami terus melengkapi jajaran produk kami, dan pabrik Ghent adalah pelopor nyata untuk jaringan manufaktur global kami," jelas Kepala Operasi dan Kualitas Industri Volvo Global, Javier Varela.
"XC40 Recharge adalah yang pertama dari banyak model Volvo listrik penuh yang akan datang," tegasnya.
Infografis Demo Anarkis Tolak UU Cipta Kerja.
Advertisement
:strip_icc()/kly-media-production/medias/5418271/original/043127800_1763612757-Cek_Fakta_Tidak_Benar_Ini_Link_Pendaftaran_-_2025-11-20T111207.435.jpg)
:strip_icc()/kly-media-production/medias/3364380/original/059972500_1612095530-PENGUNGSI_GEMPA_SULBAR_3.jpg)
:strip_icc()/kly-media-production/medias/5456046/original/055510600_1766794586-WhatsApp_Image_2025-12-26_at_21.01.16.jpeg)
:strip_icc()/kly-media-production/medias/5455510/original/094712400_1766670466-Cek_Fakta_Tidak_Benar_Ini_Link_Pendaftaran_-_2025-12-25T203045.332.jpg)
:strip_icc()/kly-media-production/medias/3262119/original/064743400_1602163172-setir_canggih_volvo.jpg)
:strip_icc()/kly-media-production/medias/3262216/original/075092400_1602167057-Infografis_Demo_Anarkis_Tolak_UU_Cipta_Kerja.jpg)
:strip_icc()/kly-media-production/medias/5454125/original/099230800_1766550476-Lagidiskon__desktop-mobile__356x469_-_Button_Share.png)
:strip_icc()/kly-media-production/medias/5440993/original/051183300_1765449665-pexels-thirdman-7651922.jpg)
:strip_icc()/kly-media-production/medias/5440955/original/025438100_1765448041-pexels-chevanon-302894.jpg)
:strip_icc()/kly-media-production/medias/5436532/original/045182500_1765177568-pexels-maksgelatin-4824424.jpg)
:strip_icc()/kly-media-production/medias/5436514/original/029918400_1765176856-pexels-ken-tomita-127057-389818.jpg)
:strip_icc()/kly-media-production/medias/1429293/original/037383000_1481114577-20161207--Laptop-Acer-Seharga-20-Juta-Jakarta-Angga-Yuniar-01.jpg)
:strip_icc()/kly-media-production/medias/5436096/original/000714800_1765162370-pexels-photo-1740919.webp)
:strip_icc()/kly-media-production/medias/4800209/original/049531900_1712900090-shutterstock_2286683503.jpg)
:strip_icc()/kly-media-production/medias/5442113/original/056839600_1765528039-Ilustrasi_smartphone__tablet__dan_laptop.png)
:strip_icc()/kly-media-production/medias/5441514/original/073297500_1765510798-Depositphotos_547538726_L.jpg)
:strip_icc()/kly-media-production/medias/5429431/original/070225500_1764586417-pexels-yankrukov-9072212.jpg)
:strip_icc()/kly-media-production/medias/5434294/original/022663100_1764921813-Depositphotos_209735730_L.jpg)
:strip_icc()/kly-media-production/medias/5424660/original/045643900_1764150556-IMG-20251126-WA0006.jpg)